• 咨询热线
  • 0775-2824515
  • 出诊电话
  • 0775-2837100
    0775-2200000

就医指南

实景导航

出诊电话

0775-2837100 0775-2200000

官方微信

TOP
智慧赋能 服务升级——我院门诊中医外治中心信息化管理平台助力患者就医体验再提升
发布日期: 2025-03-14浏览次数:745玉林市中西医结合骨科医院

随着治疗床管理系统大屏音乐的响起,门诊中医外治中心的护士第一时间来到患者床前处理治疗后续事项。

“你们来得那么及时啊,我这边治疗刚结束。”来治疗的张大姐好奇地询问护士。

“阿姨,我们现在上了治疗床管理系统,在大屏幕上都能看到您治疗进度的。”值班护士一边整理治疗仪器一边亲切回复张大姐。

“那可真方便,以前我来治疗总想着什么时候结束,现在自动提示,安心多了。”来做艾灸治疗的张大姐对护士夸赞道。

自从门诊中医外治中心治疗床管理系统上线以后,已经陆续收到许多患者的好评。

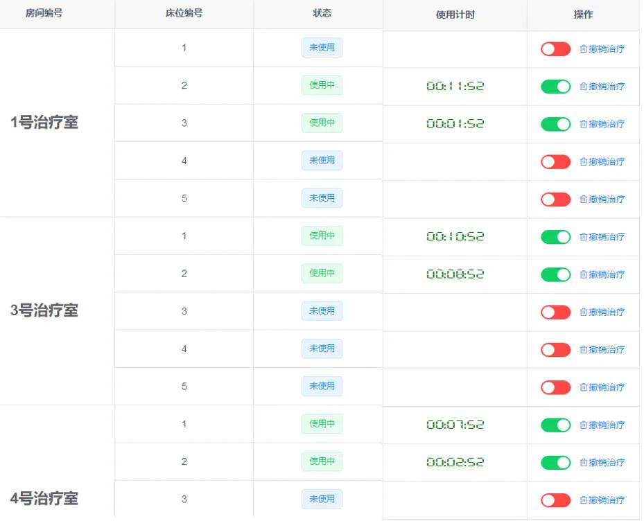
为解决患者治疗过程的等待和减轻护理工作人员工作压力,有效提升患者就医体验,门诊科室团队自主研发了"治疗床管理系统",这是一款专为门诊部治疗床设计的智能管理系统,集大屏可视化、治疗时间提醒及治疗记录保存于一体。工作人员通过管理平台界面即可轻松掌握床位使用情况,各治疗室有哪些是正在使用的床位、床位使用时长、有无空闲床位一目了然,无需再像过去那样频繁穿梭于各治疗室进行人工核查,极大提升了工作效率,同时也缩短了患者的等待时间,进一步改善了就医体验。


大屏数据动态显示科室目前所有正在使用治疗床的信息,治疗床使用时长以倒计时形式显示。当治疗时间结束,相应床位的时间即显示红色并响起音乐声提醒,工作人员根据信息提醒及时前往处理,确保服务流程的无缝对接,高效完成床位周转。


从"人工跑腿"到"数据跑路",从"被动等候"到"智能引导",我院门诊中医外治中心以信息化手段破解传统床位管理难题,以信息技术为支点,撬动传统医疗服务模式进行创新变革。

我院门诊中医外治中心自2024年5月成立以来,开展了刮痧、拔罐、针灸、姜疗、穴位贴敷、耳豆压穴等十多项中医特色项目,治疗室9间,设置床位40张,以"简、便、验、廉"的中医特色疗法深受群众认可,吸引了越来越多的患者前来就诊。未来我院门诊部也将坚持以患者需求为导向,深化护理服务内涵建设,通过技术创新不断提升服务质量和效率,努力打造更加便捷、高效、舒适的就医环境,为患者提供一个更加人性化、智能化的医疗环境,实现医疗服务的个性化和精准化。